制度管人,流程管事。
不合理的工作流程,不仅会耽误工作进程的正常推进,而且还增加了企业的运行成本。
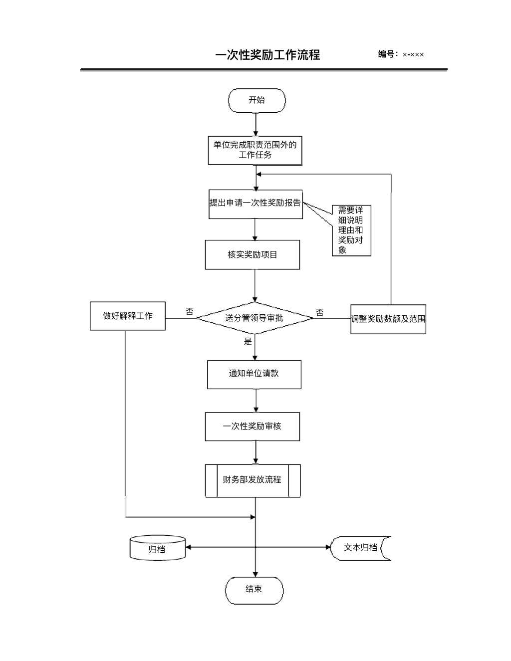
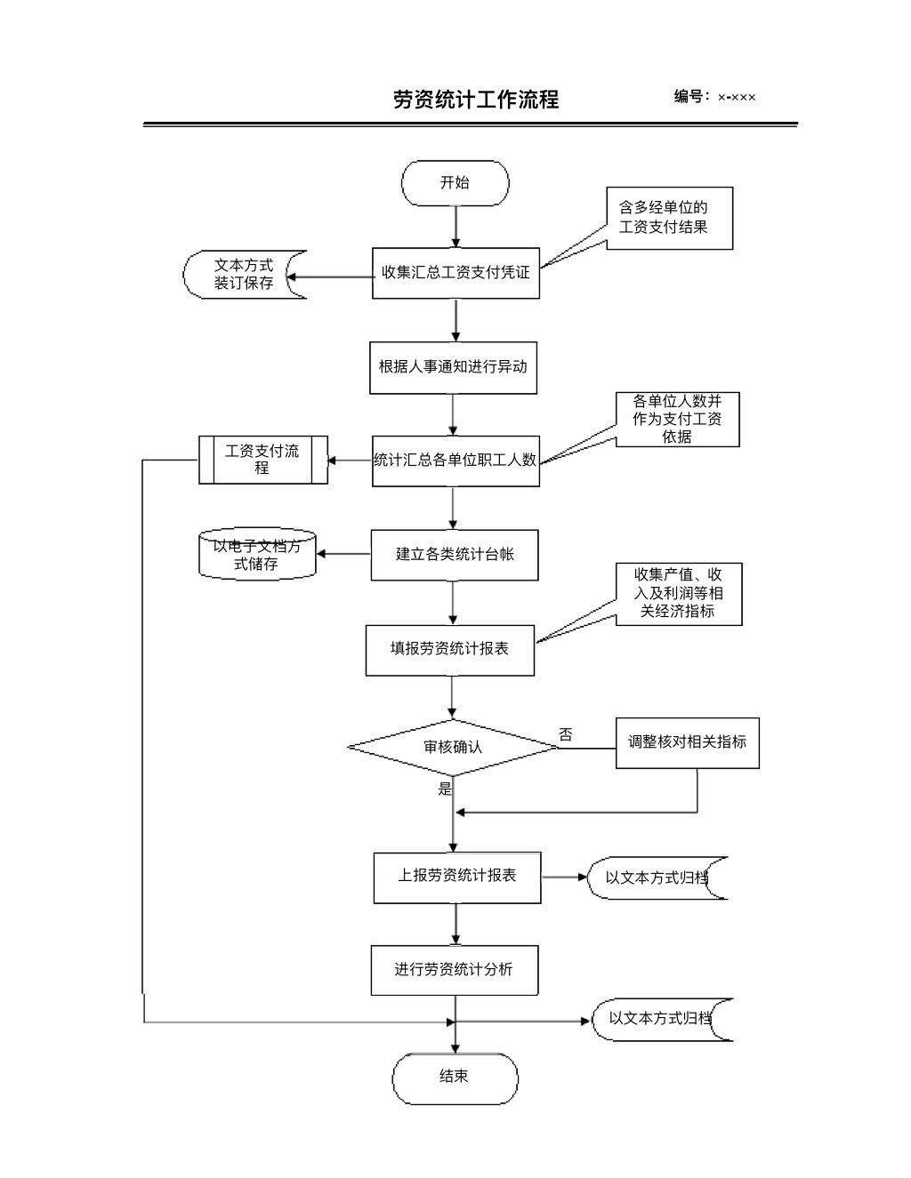
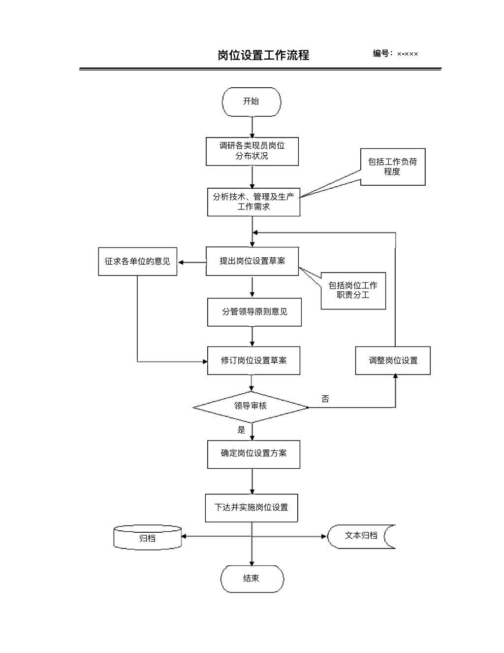
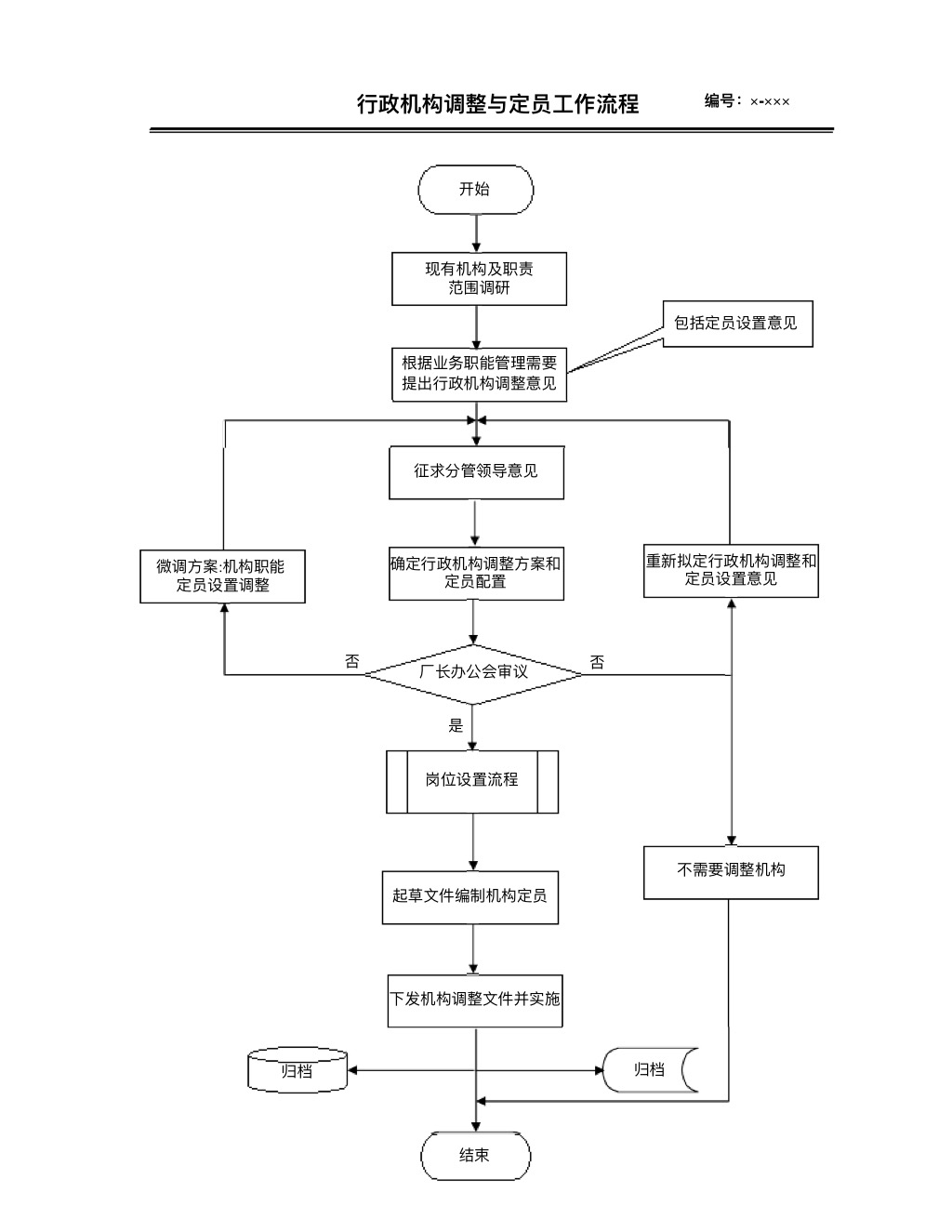
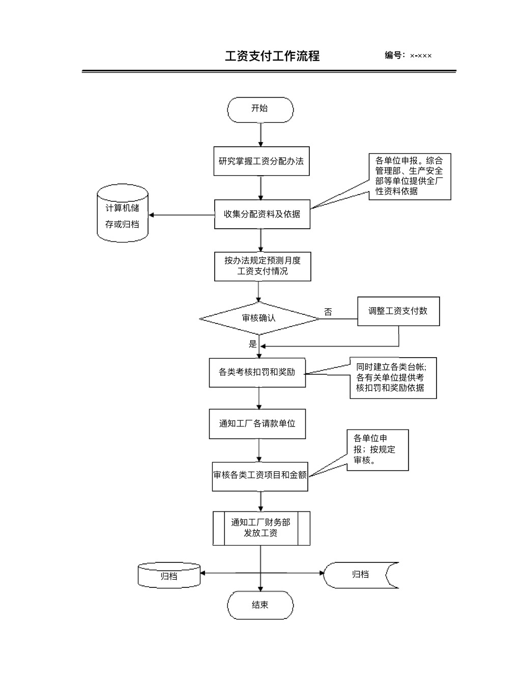
本次分享的是「人力资源部工作流程图大全」,该PPT基本覆盖HR工作方方面面。涵盖了:员工进入、退出公司轨迹、招聘流程、绩效管理考核以及评估、薪酬操作流程、培训等工作流程。每一张可直接打印使用,无需排版,方便人力资源工作者放于案头自查或培训使用。
它精确到每一个容易被你忽视的环节,每一环节都梳理得很清晰,不仅可以帮助你细节处无纰漏,更能树立全局观!
以上是资料的部分预览内容,完整电子版购买后即可下载,或开通会员全站免费下载点击查看详情
这不是你想要的资料?那就去搜索看看!点击去搜索>>>
© 版权声明
THE END




